产品咨询热线 400-871-5551     搜索     русский язык  |  English
x

首页 > 水刀研究院
图形实体自动排序
来源: 时间:2021-06-23 浏览:4689
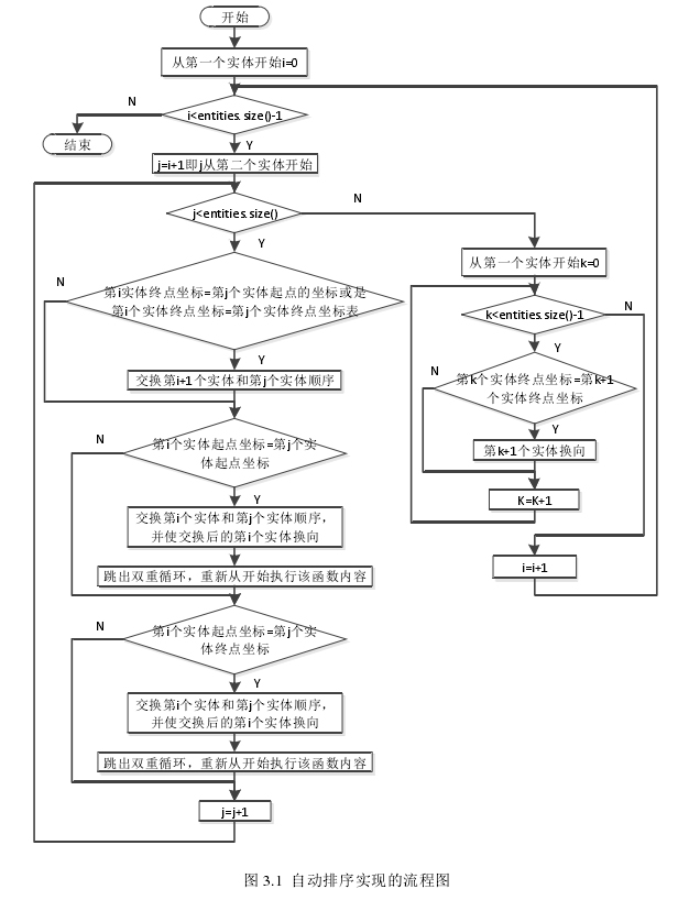
       图形实体在创建时是以一定的方式被放到实体容器中的,比如按先创建先放的顺序。但往往在加工由多个实体组成的某一轮廓轨迹工件时,要按照最短路径的方式或是简便的方式走完整个轮廓,使工作时间最短,效率最高。自动排序就是按照这种加工路径最短的方式实现的。当实体数量较多,而且顺序杂乱无章时,用户要花很长时间,且要经过多次操作来实现一定的顺序,所以自动排序的方式也方便了用户的操作。图形元素自动排序的实现也就是对链表(RS_Entity  *entities)中实体指针进行重排,根据零件轮廓线上前、后图形实体邻接的原则,确定了加工方向和下一个邻接实体,然后建立一个临时的实体指针 RS_Entity  *temple 用于交换链表 entities 中两个实体指针的位置,交换后的实体指针存储到链表 entities 中。自动排序实现的具体流程图如图 3.1 所示。自动排序实现前后的效果图分别如图 3.2 和图 3.3 所示。排序前,创建实体的顺序为 1-4-2-5-3,自动排序后的顺序为 
1-2-3-4-5

    

上一条:CAD/CAM 一体化上位机软件与华中8型数控系统下位机通信
下一条:图形实体手动排序
友情链接:
版权所有 Copyright 2019-2025 辽ICP备2021002461号-1
首页
产品中心
电话咨询