产品咨询热线 400-871-5551     搜索     русский язык  |  English
x

首页 > 水刀研究院
高压泵的传动端
来源: 时间:2021-09-22 浏览:24660
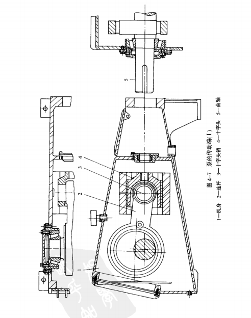
以曲柄连杆机构为传动端的机动往复泵,一方面通过这一机构把原动机的旋转运动转化为柱塞的往复运动,一方面则经它把原动机的机械能传递给被输送液体。

     泵的传动端应该是运行平稳、温升正常、无异常声响,且尺寸较小传动端虽然看似相同,然而一个好的机座总是有特色的。

     下图所示为典型的泵传动端。其减速机构全部置于泵外,箱体空间较大,飞溅润滑,各运动件的连接都很简单,箱内零件由后端盖置入装配,机身采用钢板焊接,曲轴为球墨铸铁,其内部钻有小孔用以对连杆和滚动轴承进行强制润滑。该机座配套功率140kw,泵速200-500次/min。


      为更大限度的减少总体尺寸,所示图的传动端将减速的齿轮副置于箱内,在两个曲轴轴肩上设置一对相向的斜齿轮组成人字齿轮,动力由主齿轮轴输入,该传动端由于齿轮尺寸大,仍为飞溅润滑。箱内空间相对较小,为了保证端部壁油封寿命,在滑履前部设有卸压卸油孔。为了便于安装,特意另加了轴承座。有些泵的传动端与液力端的连接很讲究,采用球面点接触、上下卡环连接方式,这种连接尤其适用于高压泵的柱塞对中调心,该泵则采用连接杆方式。

上一条:水射流冲击速度对横向裂纹的影响
下一条:大功率超高压泵应用范围
友情链接:
版权所有 Copyright 2019-2025 辽ICP备2021002461号-1
首页
产品中心
电话咨询