利用低工况参数达到高工况的作业效率,即以新的射流形式取代传统射流形式,一直是水射流技术的发展方向,脉冲射流就是这样一个方向。造成脉冲射流的方法有很多,自激振荡、电磁脉冲、超声波等等,总之形成不连续的间断射流,聚能骤放、断续水机。
MORE+应对磨料种种缺陷的最好办法是不用磨料,然而,不用磨料又轮回到了纯水射流,要想用纯水射流除锈,必须要大幅度地提高压力至超高压,几乎只有超高压水射流才能弥补磨料的功能,反之,磨料的作用也正是为了降低水射流压力,两者既能互补又不能取代------这就是技术妙用的真谛
MORE+采用高压水射流清除氧化铝设备的结疤,超高压大功率泵机组是产生超高压水的发生设备,均采用柱塞或五柱塞往复泵的结构形式。应用于氧化铝业结疤清除的泵机组具有以下几个特点。
MORE+用于地面油污类污垢清洗的高压水射流清洗车,设备以水射流技术为核心,与真空抽吸技术有机结合,即对地面油污类污垢进行有效清洗,同时又可将清洗废水完全回收。
MORE+所谓大功率超高压清洗设备的压力控制形式,是指保证大功率超高压设备满足操作者在工作现场利用一种或多种高压水工具(如喷枪、脚踏阀等)实现无干扰作业的一种控制形式。合理选择适当的压力控制形式有利于保障操作者的人身安全、延长高压机组的有效使用寿命和减少高压机组的驱动能耗。
MORE+相对大功率设备而言,高压泵液力端通常分为高压泵头和密封函(高压缸和柱塞与密封)这两部分。
MORE+大功率超高压水射流系统,适合解决工业清洗、除锈和除锈等所有问题。
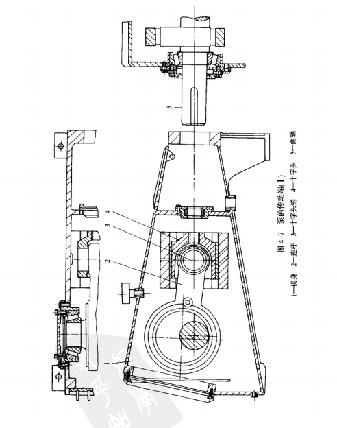
MORE+以曲柄连杆机构为传动端的机动往复泵,一方面通过这一机构把原动机的旋转运动转化为柱塞的往复运动,一方面则经它把原动机的机械能传递给被输送液体。
MORE+